
國家高新技術企業
廣東專精特新企業
英文站
網站地圖
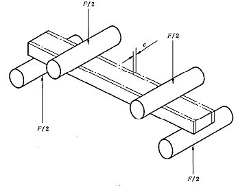
試驗機做精細陶瓷彎曲試驗GB6569-2006
試驗機做精細陶瓷和纖維增強或顆粒增強陶瓷復合材料室溫下的彎曲強度試驗,按照國標GB6569-2006要求執行。
彎曲強度時一個特定的彈性梁受彎曲載荷斷裂時的最大應力。
對矩形截面的梁試樣施加彎曲載荷,直至試樣斷裂。假定試樣材料為各向同性和線彈性。通過斷裂時的臨界載荷、夾具與試樣的尺寸可以計算試樣的彎曲強度。
通過試驗機做四點彎曲及三點彎曲試驗。如圖。
